Полная версия этой страницы:
Блог Гидрогаража
Торонага
6.10.2015, 19:49
Filmor, да нет, подозреваю, что секрет крайне прост, просто не очевиден

)
Цитата(Торонага @ 6.10.2015, 13:06)

приди в ум, плз.

увы/ура на форуме уже есть человек, который общается так, как ты хочешь от меня. Это
Shiko. Мне кажется - одного дой-стат-очно, так что я уж побуду как-нибудь так, не приходя в сознание.
Нажмите для просмотра прикрепленного файлаПервый штраф - в майские праздники по запарке без доков попался. Второй 23-го региона - это когда в машине, взятой напрокат в Анапе, возвращался от
HUNTER23 и в Усть-Лабинске поймали на сплошной - отделался взяткой и фиктивным штрафом за непристёгнутый ремень. Оба квитка оплаты в бумажнике. Лень ехать до 2-го кабинета, чтобы списали.
GOLLANDEC
6.10.2015, 23:50
Цитата(Торонага @ 6.10.2015, 10:29)

ну-ка опровергни?
Тезка, поддержу Ярика
Цитата(Гидр @ 6.10.2015, 11:01)

Торонага, я даже понятия не имею, куда там можно вбить номер протокола.
младший мой скачал приложение на андроид "штрафы пдд" и по номеру ВУ и СОР смотрел, мой Омский штраф там отразился
Сегодня начал собирать движок Карпача - ну чо, вечер разочарований

Сначала в одну половинку картера коленвал пришлось забивать средним молотком. После этого я раскочегарил керосиновый обогреватель и нагрел вторую половинку. Даже после нагрева она еле натянулась. Коленвал и валы КП вращаются откровенно туго. У меня как обычно депрессивно-суицидальные мысли "Рукожоп, простейший движок собрать не смог."
Разобрал обратно. Паз под подшипник первала:
Нажмите для просмотра прикрепленного файлаВидна откровенно плохая обработка и зализанные следы на алюминии, проточка под стопорное кольцо вообще ушла куда-то в сторону. Ставим первал и радуемся следующей картине:
Нажмите для просмотра прикрепленного файлаВот и ответ. Щели по пол-метра, овал. В идеале под все валы должны быть нормальные круглые отверстия, куда подшипники влезают лишь с лёгким натягом и потом сами устанавливаются. Видно, что диаметр поджат в местах, куда снаружи подходят рёбра жёсткости. В общем полное нарушение технологии изготовления. Это и понятно - мопед производства из 90-х, это уже Незалэжная. Хотя справедливости ради надо сказать, что у Планеты-5 1992-го года выпуска по сравнению с донором Планетой-4 из 80-х тоже заметно хуже отливка и общее исполнение, я об этом уже писал.
Печаль. Думал собрать и покататься на выхах, а тут, видимо, сяду на телефон тов.
mihanicus и буду клянчить развёртки на 40, 35 и 26 мм....
короче, от вас помощи не дождаться. Лады, буду дальше в потемках брести.
не продолжаем, не надо. Всем спасибо
GOLLANDEC
7.10.2015, 8:14
Торонага, тут смотрел?
http://shtrafy-gibdd.ru/ просто вбил номер машины, ВУ и СОР, в СОР только цифры, без знака № и без пробелов
GOLLANDEC, сказал же, ничего не нужно, разберусь сам
Цитата(Торонага @ 7.10.2015, 1:45)

короче, от вас помощи не дождаться. Лады, буду дальше в потемках брести.
не продолжаем, не надо. Всем спасибо
Компьютерщики в таких ситуациях обычно советуют обновить браузер
Торонага
7.10.2015, 14:39
Цитата(Гидр @ 7.10.2015, 9:01)

Компьютерщики в таких ситуациях обычно советуют обновить браузер

а сантехники - не кидать бумагу в унитаз
dissector
7.10.2015, 15:01
Цитата(Торонага @ 7.10.2015, 12:39)

а сантехники - не кидать бумагу в унитаз
Я уже и баннер придумал :-)
Торонага
7.10.2015, 15:08
dissector, кто ебанер?
dissector
7.10.2015, 15:46
Цитата(Торонага @ 7.10.2015, 13:08)

dissector, кто ебанер?

Придум А.Л. :-)
щас оба дневники на стол положите
GOLLANDEC
7.10.2015, 20:29
Цитата(Торонага @ 7.10.2015, 12:39)

а сантехники - не кидать бумагу в унитаз
можешь бросать, у тебя интернет-странички
Торонага
7.10.2015, 20:46
GOLLANDEC, ща
сотру твой фтпшник к директору с родителями
GOLLANDEC
7.10.2015, 21:04
Торонага, у мну запасной есть
Торонага
7.10.2015, 21:24
GOLLANDEC, зато мопедки нету

ща Ярик нас погонит метлой
Цитата(Гидр @ 7.10.2015, 0:57)

а тут, видимо, сяду на телефон тов. mihanicus и буду клянчить развёртки на 40, 35 и 26 мм....
Не знаю, что бы я делал без Миши: развёртки решили все проблемы. Понадобились: для коленвала (203-й подшипник) - 40 мм, для первала (202-й) - 35 мм, для вторвала (100-й) - 26 мм. Развёртка 40 мм была длинная и позволила пройти оба отверстия под коленвал при собранных вместе половинках картера, чем обеспечилась правка соосности.
Дело пошло:
Нажмите для просмотра прикрепленного файла
Гидр, тоже такой был, но с ножным переключением и с ручным.
Главное кольца хорошие поставить поршневые.
УФ!!!
Нажмите для просмотра прикрепленного файлаПравда свечка так себе:
Нажмите для просмотра прикрепленного файлаИ на винт качества не реагирует - карб я наспех помыл и собрал, видимо недомыл.
УРАаааааа осталось только эти дурацкие тросики слепить - переключения передач и сцепления... система там, конечно, аховая, родные тросики разрезные с регулировками, таких у нас нет, придётся лепить из того что есть.
===
П.С. Звонок с незнакомого номера, неместного.
- Ярослав Юрьевич?
- Да, я.
- Ээ, у вас есть такая машина - Ниссан Скайлайн?
- У меня такая машина была в прошлом году, я её продал. А кто это?
- Это дежурная часть города Тынды вас беспокоит.
-
- А кому вы машину продали?
Я кратко и несколько запутанно объяснил (один хрен я даже не помню, как этого мужика зовут).
- А что случилось?
- Да мы нашли её брошенной, пробили по базе - оказалось вы владелец. - Удивление в голосе, как будто владелец - граф Дракула, пишите письма в Трансильванию.
- Понятно, значит он её на себя просто так и не переоформил...
Ещё раз попросили объяснить, где и кому примерно состоялась продажа, извинились и распрощались...
Cayman......
9.10.2015, 15:26
Цитата(Гидр @ 9.10.2015, 1:24)

.... извинились и распрощались...
Эх, а какая могла быть интрига..
Типа, "Вы знаете, в обнаруженном Скае труп, ствол, кило белого порошка и много отпечатков Ваших пальцев. Закрывайте пока гараж, сейчас за Вами подъедут."

пятниццо жеж...
Доктор Франкенштейн
9.10.2015, 15:40
Цитата(Гидр @ 9.10.2015, 1:24)

...Я кратко и несколько запутанно объяснил ...
Ох, что-то недоговариваешь...
Начитаются либеральной прессы про ГУЛаг, потом флудят
Интрига будет позже. Когда ИФНС требование об уплате налога пришлет.
Johny, уже прислали, 240 рублей за полгода, с июля по декабрь
Чето даром совсем. С меня за фолькса полтора рубля содрали.
Johny, я-то на себя его сразу зарегил в У.-Сибирском, т.е. налог по ставкам для Маг.области., а лошадей там меньше 100...
HILANDER
10.10.2015, 2:32
Гидр, снимай с учёта в связи с утилизацией! скорее
mihanicus
11.10.2015, 4:10
Цитата(HILANDER @ 10.10.2015, 0:32)

Гидр, снимай с учёта в связи с утилизацией! скорее

сгорел
Ex_Prepod
11.10.2015, 6:22
Ярик, давай тебе такое литье поставим
HILANDER
11.10.2015, 22:51
Ну что там про Карпаты нового? где фото всего мопеэда?
HILANDER, будет новое - напишу. Пока ничего хорошего нет. Тросики так и не сделал. Заводится с очень большим трудом. Газует плохо. В чём дело - не представляю, в карбюраторе примерно 0 настроек и узлов, которые могут придти в негодность, хотя треснувший поплавок уже пришлось паять без особого успеха. Настроя нет, выхи прошли практически безрезультатно. Ну вот - стоило ли про это писать?
HILANDER
13.10.2015, 0:20
Гидр, а зажигание выставил правильнО? компрессия как?
и с тросиками там врооде проблем нет особо, мы свобоно их паяли с подходящей жилки.
Гидр, катализатор забит
active, очень даже может быть. Был у меня карпач и что я с ним только не делал но не ехал он и все, по прямой еще кое как а если горочка то все. Карб весь перебрал, поршень с кольцами поменял, зажигание выставил, поменял сальники коленвала, проверил топливоподачу и все так же - не едет.
И вот как то "катаюсь" я значит в надежде что само все наладится.... И наладилось, попер как зверь. На следующий день завел, смотрю дым из под гайки глушителя валит, открутилась, затянул, поехал, а он не ЕДЕТ !!! И тут все стало ясно, глушак долой, паяльную лампу ему в опу, еще пару раз об острый лом для верочки и все, гонял все лето как муха.
Просто задница с этим мопедом. После того, как я на выходных на улице погонял его с часик и на прогретом подрегулировал карб - всё, перестал заводиться. Одновременно происходят две вещи: 1. свечу заливает, 2. если открыть дроссель и плеснуть со шприца кубик-полтора бензина прям в нутро - заводится с пол-брыка. Но это же чушь какая-то.
Треснувший поплавок запаял в который раз, отрегулировал уровень, без толку. Сегодня я с ним ёбся всеми возможными способами - единственное чего удалось добиться - это он схватывает на две-три-пять секунд и глохнет. Как я только не крутил эти два винта на карбе и как только не извращался и с закрыванием заслонки, и без. Рукой вход карба закрываешь, пару раз качнул, на старт - схватывает на секунду и глохнет. Как будто не сосёт с карба бензин, т.е. как будто плохая продувка.
Сейчас психанул, снял новый китайский цилиндр, поставил старый родной, есть там всё-таки разница в расположении выхлопного окна - без толку.
Пипец. Простейшая конструкция, а как ума дать - не представляю. Чувствую себя неимоверно тупорылым бараном.
Торонага
14.10.2015, 2:27
Гидр, а что там за карб?
Торонага, К60В.
П.С. Выкручиваю свечу, ставлю напротив отверстия газовый паяльник в режиме открытого пламени, качаю рукой кик-стартёр - реакции тупо нет. А закроешь рукой вход карба, покрутишь - подхватывает пламя, но слабо. А если утопить поплавок кнопкой чтоб полилось, закрыть рукой и покачать, а потом опять поднести горелку и провернуть - пыхает со свистом, аж в обратку через карб вылетает. После таких операций пытается завестись, но один хрен глохнет и после этого уже не заводится.
Искра - синяя, бодрая.
Торонага
14.10.2015, 2:36
Гидр, щас попробую найти картинку.
очень похоже на засраный воздушный канал - они обычно не прямые, продуть-проковырять не реально.
PS вроде нашел
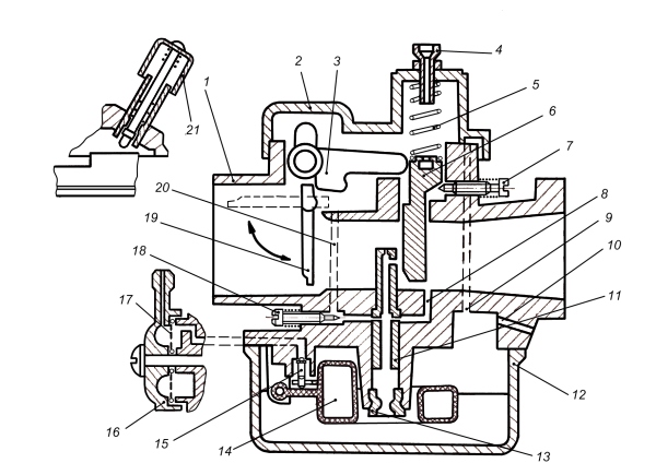
Нажмите для просмотра прикрепленного файлавот под номером 8 я имею в виду.
аналогичная хрень была у бати на "Муравье", карб другой, но система однохренственная
Торонага, там всё хорошо с этим каналом. Карб ради него я снимал раз 5. Ковыряно иголками. Проверено неоднократно и не одним мной. В четыре руки. Со шприцами-ацетонами. Затыканиями всех иных отверстий специально подготовленными зубочистками. С троекратным "господи помилуй". С долбёжкой в стену. Там всё чисто.
Оно поехало!
Нажмите для просмотра прикрепленного файлаВ общем с запуском более-менее разобрался. Штатная система воздушной заслонки сделана так, что заслонка фиксируется в полу-открытом положении. Я-то думал, это норма. Вот, слева просто защёлкнул, справа пальцем додавил:
Нажмите для просмотра прикрепленного файлаИспользовав мягкую проволочку, я зацепил рычажок и закрыл её полностью - двигатель стал пускаться намного легче.
Всю прелесть тросикового переключения коробки я познал сразу же: заваривал оторвавшийся тросик
дважды. Кто придумал эту идиотскую систему, наверняка жарится в аду на самом раскалённом масле. Когда тросик рвётся, включается вторая передача. При этом мопед можно завести с толкача, но он не едет даже по прямой и даже если хорошенько разбежаться - не хватает оборотов двигателя, не тянет.
В общем как видно по первой фотке, пропердел до 6-го км, до стелы. В подъём едет только на 1-й пешеходным шагом. На газ реагирует плохо - ещё надо разбираться с карбом и может быть крутить зажигание... Пока определённые обороты не наберёт - дохнет, причём даже на прямой и даже на 1-й передаче. Сцепление вообще не работает, хотя там сложно что-то не так настроить: трогаться надо заскакивая на мопед с ходу. При езде ноги на подножках получают вибромассаж. Одним словом - отечественная техника. Несколько раз Москвича вспоминал в процессе ковыряния.
...а вообще холодно уже для таких покатушек.
HUNTER23
15.10.2015, 4:08
Гидр, если мне не изменяет память, винт качества закручивается до упора и потом отворачивается на 2,5 оборота. И после этого регулируется...Но я обычно так и оставлял...
dissector
15.10.2015, 9:26
Мне не надо блока НАТО,я купил себе Карпаты : )
HUNTER23, да, только на этот винт никакой реакции я пока не заметил. Винт регулирует подачу воздуха по каналу, который связан с ГТЖ и дальше выходит за дроссель - т.е. типа канал ХХ. Но! не найдя внятного описалова работы мотоциклетных карбов, я сделал ход конём и полез в советские книжки в разделы про трактора: там есть двухтактные пускачи, и есть описалово подобного карба, кажется К16, конструкция в приципе такая же. Там сказано, что воздух из этого канала понижает разрежение у ГТЖ и таким образом регулирует смесь. Т.е. винт должен влиять на качество смеси на всех режимах, а не только на холостом. Но его на холостом вертишь и реакции мотора нет. Хотя для того, чтобы мотор уверенно завести, его надо завернуть полностью, т.е. перекрыть воздух.
Короче я до выхов ещё поэкспериментирую конечно, да только скоро пора будет один хрен его на прикол до весны ставить...
Нажмите для просмотра прикрепленного файла
Сегодня начал с зажигания. В книжке очень невнятно написано про какие-то метки, которых я на магнето не нашёл вообще. Поэтому крутил от балды. Накрутил слегка пораньше, выехал, газу дал и в горку на 6-й км. И чо - и заполз на 2-й передаче почти до самой стелы!

Уже прогресс

По всей видимости, зажигание надо выставлять тупо экспериментальным путём.
Наконец-то загнал Саньку в гараж, гляжу на неё и не верю, что она меня через всю страну свозила и не развалилась. Ощущение такое, что я прикорнул на работе на диванчике после обеда и мне всё это приснилось минут за 5, пока не пришли сотрудники и не включили ящик с передачей "Время покажет" и разбудили...
HILANDER
17.10.2015, 1:17
Гидр, там разве Магнето? не электронное?
HILANDER, там магнето. Электронное. Извини, но сказать больше я в этот пятничный вечер не в силах. Оно магнето и оно электронное.
dissector
17.10.2015, 4:13
Цитата(Гидр @ 17.10.2015, 0:43)

HILANDER, там магнето. Электронное. Извини, но сказать больше я в этот пятничный вечер не в силах. Оно магнето и оно электронное.
шрифтом магнето написано
Порше каррера (вдруг поможет)

он есть в эл.коллекции шрифтов , бесплатных
Нажмите для просмотра прикрепленного файланашел
HILANDER
17.10.2015, 12:12
Вроде магнето - оно с контактами, а на V-50 должен уже стоять электронный генератор с датчиком Хола (?), паз на роторе должен совмещаться с датчиком за 1 может 2 мм до вмт.
Магнето, насколько я знаю, - это тип генератора, а с контактами или без - это без разницы, оно остаётся магнето(м). У меня вместо контактов стоит катушечка с язычком-сердечником из металла. Не знаю, называется ли она датчиком Холла...
Для просмотра полной версии этой страницы, пожалуйста,
пройдите по ссылке.